联环药业公告称,近日正规合法的股票配资平台,公司收到天津市市场监督管理委员会下发的《行政处罚决定书》。天津市市场监督管理委员会认为,公司与具有竞争关系的经营者,以垄断协议形式变更、固定地塞米松磷酸钠原料药价格,排除、限制了地塞米松磷酸钠原料药销售领域的竞争,违反了《反垄断法》的相关规定,属于达成并实施“固定或者变更商品价格”垄断协议的行为,应当依法追究法律责任。天津市市场监督管理委员会决定责令公司停止违法行为,并对公司处以罚没款合计6103.82万元。此次罚没金额占公司最近一个会计年度净利润的72.53%,将相应减少公司2025年度净利润6103.82万元。
举报 第一财经广告合作,请点击这里此内容为第一财经原创,著作权归第一财经所有。未经第一财经书面授权,不得以任何方式加以使用,包括转载、摘编、复制或建立镜像。第一财经保留追究侵权者法律责任的权利。如需获得授权请联系第一财经版权部:banquan@yicai.com 相关阅读

央行:3月以固定数量、利率招标、多重价位中标方式开展了8000亿元买断式逆回购操作
央行:3月以固定数量、利率招标、多重价位中标方式开展了8000亿元买断式逆回购操作
18 03-31 17:04

10家上市公司股票获回购正规合法的股票配资平台,和元生物回购金额最高
10家上市公司股票获回购,和元生物回购金额最高
16 03-25 23:50

主力今日尾盘买卖这些个股
主力今日尾盘买卖这些个股
0 03-25 18:56

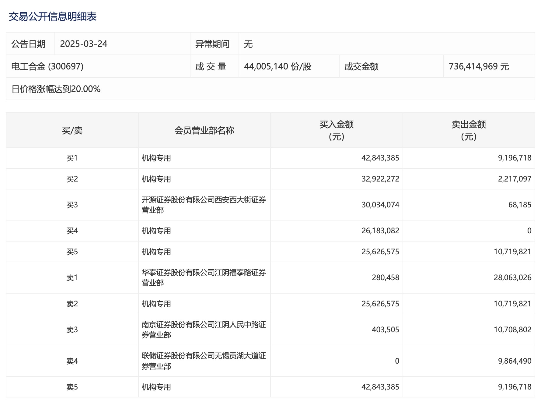
电工合金20%涨停,四机构净买入1.05亿元
电工合金20%涨停,四机构净买入1.05亿元
0 03-24 16:56

3家上市公司股票获回购正规合法的股票配资平台,万年青回购金额最高
3家上市公司股票获回购,万年青回购金额最高
0 03-20 23:32 一财最热 点击关闭
华林优配提示:文章来自网络,不代表本站观点。